Каталог

+7(495) 481-39-47
Наличие: в наличии
Артикул:00000010286
37 560 руб
- +

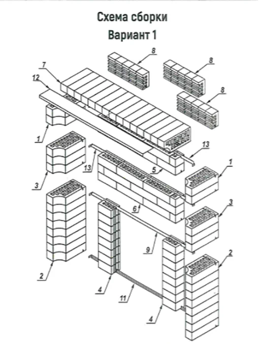
Большинство современных банных печей оснащены выносными топками, поэтому возникает необходимость задекорировать «проход» через стену. Мы предлагаем готовое решение - портал для банных печей. Помимо декоративных свойств печные порталы используются для термоизоляции топочного тоннеля.

- Универсальная сборка, подходит ко многим моделям банных печей

- Натуральный кирпич, две цветовые гаммы

- Создание эффекта полноценного камина

- Легкая, чистая сборка отдельных блоков  на ламели с помощью герметика

- Защита деревянных  конструкций от нагрева

- Вес 150 кг не требует фундамента

- Размер 1000х1000 мм

*Внешний вид и комплектация товара может незначительно отличаться от фотографий на сайте

Характеристики товара

Глубина
120 мм
Высота
1000 мм
Страна производитель
Россия
Ширина
1000 мм
Тип
Дверца
Вес Брутто
150 кг

Похожие товары

* Информация о товаре носит исключительно ознакомительный характер и не является публичной офертой.